Samonosné žalúzie STS, Bravo, VIVA
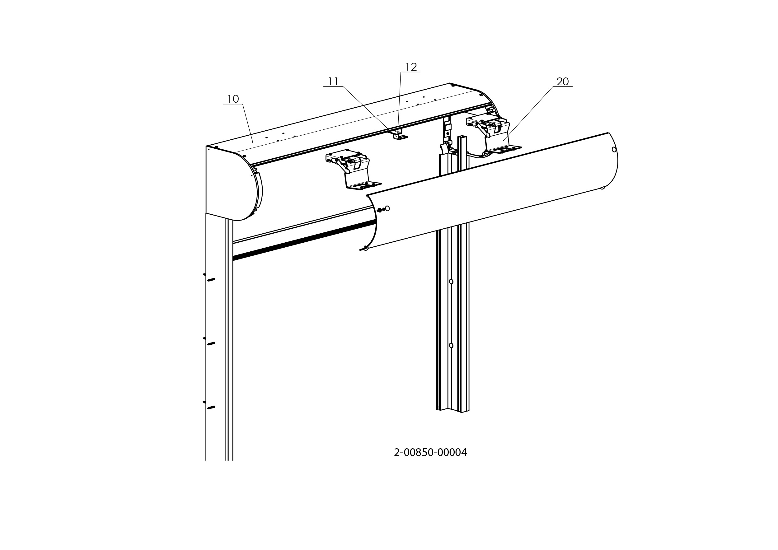
Základom samonosné žalúzie sú vodiace lišty, na ktorých leží celá váha panciera. Zástupcovia tohto špeciálneho prevedenia vonkajších žalúzií sú samonosné žalúzie STS, BRAVO a VIVA. Pre samonosné žalúzie možno použiť všetky typy a veľkosti lamiel okrem Cetta 50. Je možné do nich tiež integrovať sieť proti hmyzu.
Prednosti & výhody
- rýchlejšia a jednoduchšia montáž
- vysoký stupeň zatienenia
- termoregulačný i ochranný efekt
- znižovanie hladiny vonkajšieho hluku
- dolný profil z extrudovaného hliníka
- možnosť elektrického ovládania
- znížená hlučnosť žalúzie
Vhodné pre všetky typy vonkajších žalúzií s horným profilom 56 × 58 mm, Fe. Maximálna šírka samonosných žalúzií je 2,4 m. Pri väčších šírkach je potrebné pripevniť horný profil. Pri šírkach nad 2,4 m sa automaticky dodávajú závesy horného profilu P 002/10. Možno pripojiť až 3 žalúzie. Inštalácia na fasádu, do zárubne.
Štandardné rozmery žalúzií
Šírka (mm) | Výška (mm) | Garantovaná plocha (m2) | |||
---|---|---|---|---|---|
min. | max. | min. | max. | max. | |
Žaúzie STS CLASIC Fe - motor | 600 | 2400 | 500 | 4000 | 16 |
Žalúzie STS CLASIC Fe - klika | 600 | 2400 | 500 | 4000 | 8 |
Upozornenie: Montážne rozmery sa zvýšia o hodnotu závesu horného profilu (8 mm).

Vhodné pre všetky typy vonkajších žalúzií s horným profilom 58 × 60 mm, Al. Maximálna šírka samonosných žalúzií je 3,5 m. Pri väčších šírkach je potrebné pripevniť horný profil. Pri šírkach nad 3,5 m sa automaticky dodávajú závesy horného profilu P 002/11. Možno pripojiť až 3 žalúzie. Inštalácia na fasádu, do ostenného rámu..
Štandardné rozmery žalúzie
Šírka (mm) | Výška (mm) | Garantovaná plocha (m2) | |||
---|---|---|---|---|---|
min. | max. | min. | max. | max. | |
Žalúzie STS CLASIC Al - motor | 600 | 3400 | 500 | 4000 | 16 |
Žalúzie STS CLASIC Al - rukoväť | 600 | 3400 | 500 | 4000 | 8 |
Upozornenie: Inštalačný rozmer sa zvyšuje o hodnotu horného profilu závesu (8 mm).

Vhodný pre všetky typy vonkajších žalúzií s horným profilom 58 × 60 mm, Al. Maximálna šírka samonosných žalúzií je 4 m. Jednoduchá a rýchla inštalácia. Vhodný pre motorizované ovládanie, možnosť spojenia 2 žalúzií. Inštalácia na fasádu, do ostenia.
Štandardné rozmery žalúzií
Šírka (mm) | Výška (mm) | Garantovaná plocha (m2) | |||
---|---|---|---|---|---|
min. | max. | min. | max. | max. | |
Žalúzie STS ALUMINIUM | 600 | 4000 | 500 | 4000 | 16 |
Upozornenie: Hliníkový výstužný profil je vždy súčasťou dodávky. Profil s výstužou bude mať o 18 mm väčšiu montážnu výšku.

Vhodné pre všetky typy vonkajších žalúzií s horným profilom 56 × 58 mm, Fe. Maximálna šírka samonosných žalúzií je 2,4 m. Pri väčších šírkach je potrebné pripevniť horný profil; automaticky sa dodáva dodatočná konzola P 009/3. Vodiaca lišta P 018/2 FIX sa dodáva v predmontovanom stave vrátane konzoly P 010/50; vodiaca lišta P 016/3 sa dodáva v predmontovanom stave vrátane konzoly P 010/21. Jednoduchá a rýchla inštalácia. Inštalácia na fasádu, do zárubne. Vhodné pre motorizované ovládanie, možnosť spojenia až 3 žalúzií.
Štandardné rozmery žalúzií
Šírka (mm) | Výška (mm) | Garantovaná plocha (m2) | |||
---|---|---|---|---|---|
min. | max. | min. | max. | max. | |
Žalúzie STS FIX | 600 | 2400 | 500 | 4000 | 16 |
Upozornenie: Inštalačné rozmery sa zvyšujú o hodnotu horného profilu závesu (15 mm). Pri produkte STS FIX sa horný profil automaticky skráti o 25 mm na každej strane..

Vhodné pre všetky typy vonkajších žalúzií s horným profilom 56 × 58 mm, Fe. Žalúzie so samonosnými lamelami a možnosťou integrovanej sieťky proti hmyzu. Horný profil žalúzie vrátane balíka lamiel je umiestnený v predmontovanej skrini so zaobleným dizajnom. Po bokoch skrinky sú bočné panely na pripojenie k vodiacim lištám. Štandardné vyhotovenie vždy obsahuje 8 mm textilnú pásku. Vyhotovenie iba s kolmou spodnou lištou. Vhodné pre motorové ovládanie, motor je vždy umiestnený v strede. Inštalácia na fasádu, do zárubne.
Štandardné rozmery žalúzií
Šířka (mm) | Výška (mm) | Garantovaná plocha (m2) | |||
---|---|---|---|---|---|
min. | max. | min. | max. | max. | |
Bez sieťky proti hmyzu | 600 | 3500 | 500 | 4000 | 10,5 |
So sieťkou proti hmyzu | 720 | 1800 | 500 | 2500 | 3 |
Použitím tohto dizajnu ušetríte 40 mm na výške boxu (výška krycej dosky) v porovnaní so štandardným dizajnom.

Vhodné pre všetky typy vonkajších žalúzií okrem Cetta 50 a Titan. Žalúzie so samonosnými lamelami a možnosťou integrovanej sieťky proti hmyzu. Horný profil žalúzie vrátane balíka lamiel je umiestnený v predmontovanej skrini v dvoch variantoch, buď v zapustenej alebo viditeľnej konštrukcii. Po bokoch skrinky sú bočné panely na pripojenie k vodiacim lištám. V zapustenej verzii môže byť skrinka vnútri vybavená tvrdeným polystyrénom, styrodur alebo Alutermo. Inštalácia na fasádu, do ostenného rámu.
Štandardné rozmery žalúzií
Šírka (mm) | Výška (mm) | Garantovaná plocha (m2) | |||
---|---|---|---|---|---|
min. | max. | min. | max. | max. | |
Bez sieťky proti hmyzu | 600 | 4000* | 500 | 4000 | 12 |
So sieťkou proti hmyzu | 720 | 1800 | 500 | 2500 | 38 |
*Toto je max. šírka boxu.